平台配资 拟83亿元收购新潮传媒100%股权,分众传媒大涨近8%
4月10日平台配资,分众传媒高开高走,截至发稿,分众传媒涨近8%,报7.04元。
4月10日,分众传媒公告,公司拟以发行股份及支付现金方式购买张继学、重庆京东、百度在线等50名股东持有的新潮传媒100%股权。本次交易完成后,新潮传媒将成为公司全资子公司。截至本预案签署日,标的公司审计和评估工作尚未完成。经交易各方初步协商,本次交易标的公司100%股权预估值为83亿元。
公告介绍,相较于分众传媒的全面性覆盖,新潮传媒则侧重于户外视频广告业务,将目标锁定在写字楼之外的中产社区,通过灵活动态的智能投放方式服务数量庞大的中小广告主,深耕下游长尾市场。
公告称平台配资,通过本次重组,一方面,上市公司媒体资源覆盖的密度和结构可得到进一步优化,线下品牌营销网络覆盖范围得到扩大,进而增强广告主客户开发和服务方面的综合竞争力;另一方面,双方可实现在市场、开发渠道、经销管理等方面的业务协同,提升综合服务能力并有效降低服务成本。本次重组完成后,上市公司将充分采取客户共享、市场共拓的协同发展方式,全方位发挥协同效应,助推公司在户外广告领域的发展实力和影响力。
分众传媒表示,本次交易完成后,上市公司将进一步聚焦主业,拓展优质资源点位,优化媒体资源覆盖的密度和结构,进一步扩大公司城市生活圈媒体网络覆盖范围。
东吴证券最新研报指出,完成收购新潮后,分众传媒的收入和利润有进一步提升的空间。过往分众传媒和新潮传媒竞争激烈,在价格上起到相互牵制的影响,在收购完成后,一方面分众自身点位未来提价的价格传导将会更为顺利,另一方面新潮单点位过往价值量低于分众,未来收购的新潮点位价值量也有大幅提升的空间。
举报 第一财经广告合作,请点击这里此内容为第一财经原创,著作权归第一财经所有。未经第一财经书面授权,不得以任何方式加以使用,包括转载、摘编、复制或建立镜像。第一财经保留追究侵权者法律责任的权利。如需获得授权请联系第一财经版权部:banquan@yicai.com 文章作者
一财资讯
相关阅读
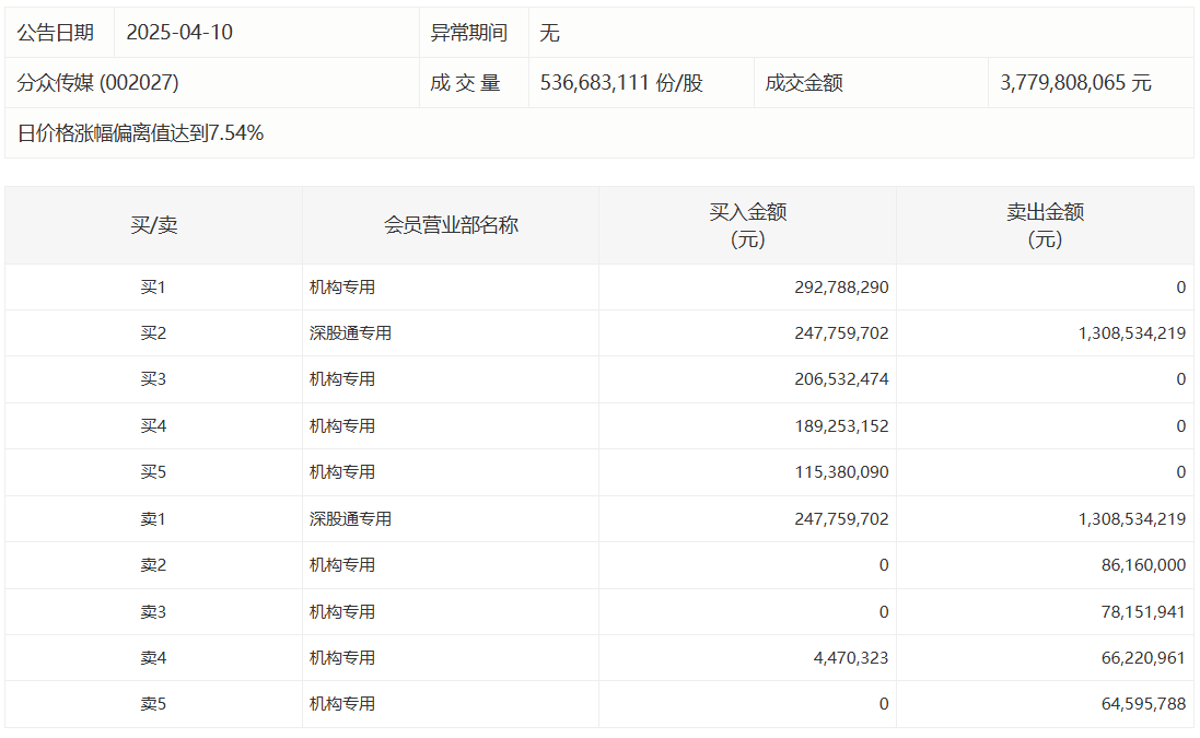
当天机构净买入前三的股票分别是分众传媒、中国中免、贝因美,净买入金额分别是5.13亿元、1.70亿元、9939万元。
250 04-10 18:44
分众传媒今日涨停 四机构专用席位净买入8.04亿元
0 04-10 16:27
长信传媒董事长郭靖宇:《唐诡》将推出短剧
38 03-14 16:36
主力资金已连续10日净流出。
102 02-18 20:09
票房向上平台配资,股价向下。
565 02-17 18:52 一财最热 点击关闭信达配资提示:文章来自网络,不代表本站观点。